
臺灣諾麥柯NH-HPK型分體式拉馬產品介紹:
臺灣諾麥柯NH-HPK型分體式拉馬分離式液壓泵設計,使用者可輕松操控,并設有內建式安全閥,可避免拉馬之損害;360°可旋轉接頭設計,可讓使用者以任何方向,操作拉馬;爪鉤與爪座,采用鉻錳合金鋼,鍛造而成;提供使用者最安心與耐用之選擇; 配有專用壓力計,用戶可精確掌控壓力,并防止超壓使用,保障操作者的安全,可快速拆卸齒輪、軸承、襯套、鏈輪、飛輪等壓裝零件,應用廣泛。
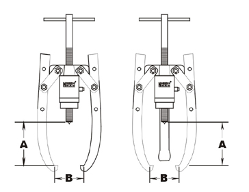
臺灣諾麥柯NH-HPK型分體式拉馬結構圖:

臺灣諾麥柯NH-HPK型分體式拉馬技術參數:
| 型號 | 承載能力(ton) | 拉爪數量 | 液壓缸型號 | 手動泵型號 | 重量(kg) | 拉拔深度A(mm) | 拉拔外徑B(mm) |
| NH-HPK10-2-3 | 10 | 2或3 | SHPC-123 | NH-HP110 | 19 | 296 | 350 |
| NH-HPK20-2 | 20 | 2 | SHPC-202 | NH-HP110 | 29 | 320 | 480 |
| NH-HPK20-3 | 20 | 3 | SHPC-202 | NH-HP110 | 34 | 320 | 480 |
| NH-HPK30-2 | 30 | 2 | SHPC-302 | NH-HP110 | 49 | 407 | 580 |
| NH-HPK30-3 | 30 | 3 | SHPC-302 | NH-HP110 | 58 | 407 | 580 |
| NH-HPK50-2 | 50 | 2 | SHPC-603 | NH-HP230 | 105 | 727 | 920 |
| NH-HPK50-3 | 50 | 3 | SHPC-603 | NH-HP230 | 130 | 727 | 920 |
以上內容由方工起重機械設備有限公司整理提供
相關文章:

